U.S. Patent No. 836,466
Free
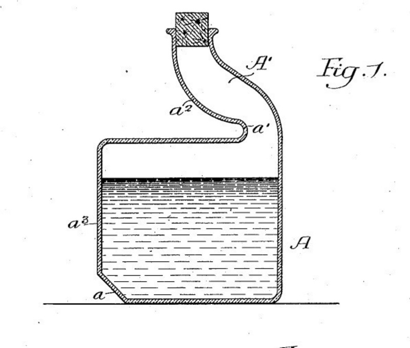
SummaryA 3D model of U.S. Pat. No. 836,466. Cutting edge 1906 self-measuring bottle technology from the original database of things--the U.S. PTO. And the '221 Patent isn't the first patent on this idea. Take a look at U.S. Pat. No. 236,997 for prior art! More available here!

Loading comments...

Loading prints...

U.S. Patent No. 836,466

likes
0 collections
Creative Commons Attribution-ShareAlike

You can distribute, remix, adapt, and build upon the material in any medium or format, as long as attribution is given and your contributions are under the same license.

CC BY-SA Licensed under CC BY-SA
Files Included

1 downloadable file:

View 3D
US836466.stl
STL Model
11.0 MB
File size
Free download - login required
Downloaded: 19 times