U.S. Pat. No. 5,016,559
Free
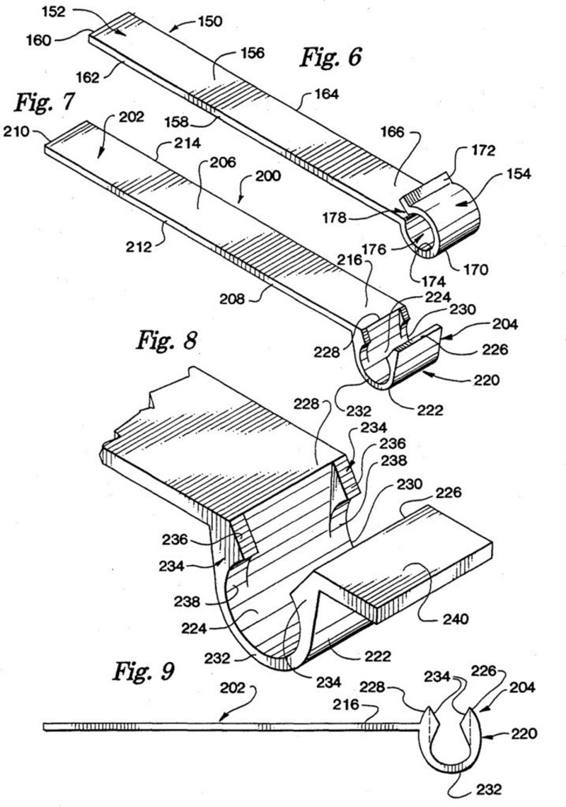
SummaryA 3D model of U.S. Pat. No. 5,016,559. Cutting edge 1989 bookmark / pen holder technology from the original Thingiverse--the U.S. PTO. "The combination bookmark and writing instrument holder includes a generally planar marking strip and an integrally molded retaining clip at one end of the marking strip. In the preferred embodiment, the retaining clip includes a pair of generally symmetrical, outwardly jaws that together present a writing instrument retaining channel. The channel includes a writing instrument retaining portion, and an outwardly flared mouth portion for guiding the writing instrument into the retaining portion."

Loading comments...

Loading prints...

U.S. Pat. No. 5,016,559

likes
0 collections
Creative Commons Attribution-ShareAlike

You can distribute, remix, adapt, and build upon the material in any medium or format, as long as attribution is given and your contributions are under the same license.

CC BY-SA Licensed under CC BY-SA
Files Included

2 downloadable files:

View 3D
US5016559.stl
STL Model
8.3 KB
File size
US5016559.pdf
.PDF File
199.8 KB
File size
Free download - login required
Downloaded: 28 times